Перейти к основному содержанию
Mensh.ru

Main navigation

  • Конструкции
  • Системы
  • Энерго
  • Стили
  • Проекты
  • Участок
  • Разное
  • Доки
User account menu
  • Войти

Строка навигации

  1. Главная

Способы осушения участка

Автор: mensh, 2 августа, 2023
Дизайн участка
  • Грунтовые воды
  • Дренаж

Основное условие эффективного осушения участка — наличие глубокого уличного кювета с гарантированным водосбором в сторону уклона рельефа.

Способы осушения участка своими руками

Даже и на равнине кювет глубиной не менее 1 м снимает подпор грунтовых вод и заметно снижает их уровень на примыкающей к кювету территории.

Содержание

  • Уклон участка
  • Дренажная сеть на осушаемом участке
  • Переувлажнённый участок
  • Заключение

Уклон участка

Проще поддаются осушению участки с чётко выраженным уклоном в сторону улицы или в противоположном направлении. В таких случаях роют водосточные канавы, обеспечивающие задержание потоков талых или грунтовых вод, и направляют их в необходимую сторону.

При уклоне к улице перед отмосткой дома роют поперечную канаву для задержания водостока от насаждений и продольную канаву для сброса воды в уличный кювет.

Схема водостока и дренажной системы участка при уклоне рельефа в сторону улицы

Схема водостока и дренажной системы участка при уклоне рельефа в сторону улицы:
1 — водосточная канава; 2 — ограда; 3 — уличный кювет; 4 — дрены; 5 — коллектор

При уклоне участка в противоположную от улицы сторону поперечную канаву делают вдоль фасадной стороны забора, а продольную — до насаждений.

Схема водостока и дренажной системы участка при уклоне рельефа в противоположную от улицы сторону

Схема водостока и дренажной системы участка при уклоне рельефа в противоположную от улицы сторону:
1 — водосточная канава; 2 — грядки огорода; 3 — дрена; 4 — бассейн; 5 — коллектор

Следует учитывать, что водосточные канавы могут защищать почву от переувлажнения только при таянии снега и интенсивном выпадении осадков.

При равнинном рельефе участка в самом низком месте его вдоль забора, которое, как правило, не используют под посадки, выкапывают канаву длиной 2–3 м, шириной 50 см и глубиной не менее 1 м.

Дренажная сеть на осушаемом участке

Вынутым грунтом засыпают низменные места. В течение сезона в канаву складывают (как можно плотнее) плохо утилизированные хозяйственные отходы: строительный мусор, бой стекла, консервные банки, камни. После заполнения её до нижнего уровня плодородного слоя копают следующую канаву таких же размеров. Снятой с неё почвой покрывают переполненную отходами канаву и используют для подсыпки низин. С течением времени по периметру участка создаётся дренажная система на ряд лет.

Труднее осушить ровный, сильно увлажнённый участок без достаточно полного водостока в уличный кювет. Дренажную систему укладывают с уклоном 2–3% из отдельных дрен, выполненных из труб диаметром 100–150 мм, длиной до 20 м. Для их укладки выкапывают траншею глубиной не более 1 м с уклоном в сторону водосборника (определяют при помощи «маяков», рейки и строительного уровня). Дно траншеи желательно выложить мятой глиной, утрамбовать и загладить, сделав его в виде лотка.

Дрены укладывают с зазором между ними 15 мм. В асбестоцементных трубах выполняют пропилы шириной 10 мм и на глубину 1/3 диаметра с расстоянием между ними 100–150 мм. Сверху трубы засыпают сначала крупным щебнем слоем 20–30 см, а затем вынутым из траншеи грунтом. Дрены сводят в единый коллектор, откуда поток воды из дренажной системы направляется в кювет, водоём или дренажный колодец.

При уклоне дренажной сети в противоположную от улицы сторону в глубине участка сооружают для сбора воды бассейн, представляющий собой резервуар со сторонами 2х4 м и наклонными или вертикальными стенками.

Бассейн дренажной системы с наклонными стенкам

Бассейн дренажной системы с наклонными стенками:
1 — слой бетона или раствора; 2 — гидроизоляция; 3 — уплотнённая глина; 4 — сливная труба коллектора дренажной системы

Стены уплотняют мятой глиной, изолируют несколькими слоями гидроизоляционного материала, а затем выкладывают кирпичом, природным камнем, бутобетоном. Глубина бассейна зависит от заглубления сливной трубы коллектора дренажной сети.

Бассейн дренажной системы с вертикальными стенками

. Бассейн дренажной системы с вертикальными стенками:
1 — сливная труба коллектора

При сооружении бассейна для сбора дренажных вод необходимо учитывать его многоцелевое назначение. Например, его можно использовать для полива в засушливый период, а при соответствующем оборудовании превратить в бассейн-лягушатник для детей или декоративный водоём, украсив его зеркало и берега водолюбивыми растениями.

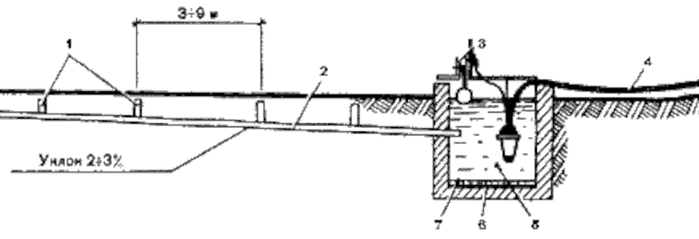
Профиль дренажной системы

Профиль дренажной системы:
1 — дрены; 2 — коллектор; 3 — автоматика; 4 — шланг отвода воды; 5 — колодец-приямок; 6 — гидроизоляция; 7 — растворная стяжка

Переувлажнённый участок

Сильно переувлажненный участок осушают при помощи более активной системы удаления влаги. Кроме дренажной сети с коллектором, она включает колодец для сбора воды, оборудованный вибрационным насосом с автоматикой.

Устройство механизма автоматики

Устройство механизма автоматики:
1 — скоба; 2 — ограничители; 3 — поплавок (пенопласт); 4 — рычаг; 5 — основание механизма; 6 — проводка; 7 — переключатель (тумблер)

При использовании такого насоса для глубоких колодцев в конструкции автоматики предусмотрено удаление выключателя от поверхности воды, что исключает заливание его водой и выход из строя в результате непредвиденного повышения уровня воды.

Управление осуществляется штангой с пенопластовым поплавком, зафиксированной в 2-х направляющих муфтах и имеющей возвратно-поступательное движение вверх-вниз.

Устройство механизма автоматики для глубокого колодца

Устройство механизма автоматики для глубокого колодца:
1 — поплавок (пенопласт); 2 — штанга; 3 — направляющие муфты; 4 — ограничители

Колодец, оборудованный насосом, должен перекачивать тот объем воды, который поступает из дренажной системы, и не допускать попадания грунтовых вод. Для его устройства можно использовать 2 металлических бочки общим объёмом 200–300 л, сваренные по периметру дна, их заглубляют в грунт и заводят в них сливную трубу коллектора дренажной системы.

Применяют также железобетонные трубы небольшого диаметра или кольца, предназначенные для сооружения колодцев, но в этих случаях надо обязательно обеспечить надёжную гидроизоляцию и герметичность дна колодца. Для этого его застилают несколькими слоями полиэтиленовой плёнки на свежем бетонном основании и покрывают водоупорной растворной стяжкой слоем 2 см.

Заключение

При осушении участка можно использовать и комбинированные методы, при этом, помимо устройства дренажной сети, предусматривается подъём уровня земли на участке за счёт подсыпки привозного грунта, посадки берёз и других влаголюбивых деревьев и растений.

Во всех случаях необходимо тщательно выполнять строительство осушительных сооружений.

Комментарии

Последние материалы

  • Генератор ветроустановки
    2 hours 10 minutes ago
  • Учебник Основы экологической архитектуры, первая книга (pdf-версия)
    3 days 5 hours ago
  • Ветроэнергетические условия участка
    5 days 8 hours ago
  • Схема ветроустановки
    1 week 3 days ago
  • Мощность и быстроходность ветроустановки
    2 weeks 1 day ago

Последние комментарии

  • (Тема не указана)
    1 month 2 weeks ago
  • Строительство на лугу вижу и…
    1 year 6 months ago
  • На фото показано возведение…
    1 year 6 months ago
  • Мне он тоже нравится…
    2 years 9 months ago
  • От этого дома буквально…
    2 years 9 months ago
RSS feed

Secondary menu

  • ЧаВо

© 2003–2025 Олег Меньшенин mensh@yandex.ru