Перейти к основному содержанию
Mensh.ru

Main navigation

  • Конструкции
  • Системы
  • Энерго
  • Стили
  • Проекты
  • Участок
  • Разное
  • Доки
User account menu
  • Войти

Строка навигации

  1. Главная

Конструкции солнечных водонагревателей

Автор: mensh, 27 июля, 2003
Гелиоустановки
  • Солнечные водонагреватели

Системы использования солнечной энергии для нагрева воды во многих отношениях аналогичны системам солнечного отопления зданий.

Термосифонный солнечный водонагреватель с плоскими коллекторами

Содержание

  • Экономическая сторона
  • Схемы солнечных водонагревателей
    • Простейшие солнечные водонагреватели
    • Типичные солнечные водонагреватели
    • Местоположение и ориентация коллектора
    • Нагрузка на крышу
    • Замерзание системы
    • Вспомогательный нагреватель
    • Регулирующие устройства

Экономическая сторона

Существует ряд характерных особенностей, которые создают потенциально лучшие условия для инвестиций в технологию солнечного нагрева воды.

Прежде всего, нагрузка на горячее водоснабжение в течение года сравнительно постоянна. Таким образом, коллектор и другие части солнечного водонагревателя будут работать при полной нагрузке максимально возможное время, экономя при этом топливо, что, в конечном счете, должно довольно быстро окупать высокую начальную стоимость системы.

Необходимо точно установить параметры солнечного водонагревателя (СВН). За исключением случаев нестандартных применений расчетная нагрузка СВН должна приближаться к нормальной ежедневной нагрузке.

Для СВН не характерны проблемы колебания спроса, они могут быть значительно дешевле и проще солнечных отопителей.

Общей для систем солнечного теплоснабжения всех типов является проблема переменного поступления солнечной энергии. Однако и в этом отношении СВН часто имеют ряд преимуществ перед солнечными отопительными системами.

К режиму приготовления горячей воды предъявляются требования менее жесткие, чем к системе отопления потому, что есть значительная разница в продолжительный бессолнечный период между отложенной стиркой или принятием душа и разрывом труб отопления. Если еще и согласиться с некоторыми неудобствами и неустойчивостью работы, то систему СВН конструктивно можно еще значительно упростить.

Габариты СВН и капитальные затраты невелики, изделие сразу годно к эксплуатации. Все это делает их весьма привлекательными для установки.

Для обеспечения бесперебойного снабжения горячей водой потребуется также и вспомогательный подогреватель.

Отсюда следует, что чем выше требования к СВН, тем более сложной и дорогостоящей становится система.

Схемы солнечных водонагревателей

Для того чтобы наилучшим образом обеспечить нагрузки, необходимо в каждом конкретном случае применять наивыгоднейшую схему СВН, а это может потребовать ряда компромиссов.

Простейшие солнечные водонагреватели

Например, одним из самых простых видов СВН является черный резиновый шланг, обогреваемый солнечными лучами. Регулируя скорость потока воды через него, можно получить струю горячей воды с постоянной температурой. Если эту воду использовать немедленно, то она будет практически бесплатна. Если же ее необходимо использовать вечером, то понадобится бак. При необходимости использования воды следующим утром к баку нужно будет добавить теплоизоляцию, чтобы вода не остыла за ночь. Если вода необходима в облачные дни, то понадобится увеличить размеры бака и толщину теплоизоляции.

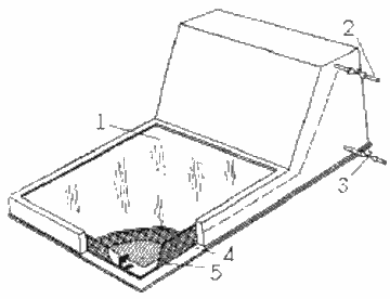
Другой аспект — особенность эксплуатации простых СВН — заключается в участии пользователя. Например, простой и вполне надежный в работе солнечный водонагреватель состоит из мелкого корыта, наполненного водой и закрытого прозрачной крышкой.

Простой открытый солнечный водонагреватель

Открытый корытообразный солнечный водонагреватель:

1 — труба для подвода холодной воды; 2 — переливная труба; 3 — вентиль;4 — выпуск горячей воды

Однако этот нагреватель должен каждое утро наполняться и опорожняться днем или ранним вечером. Кто-то должен наполнить корыто, накрыть его крышкой, если солнце скрыто облаками, оценить степень нагрева воды и слить горячую воду для дальнейшего использования.

Этот простой нагреватель будет неприемлем для большинства людей в качестве альтернативы их обычным водонагревателям, так как большинство привыкло получать горячую воду не задумываясь и не тратя усилий больше, чем это нужно для поворота крана.

Можно создать СВН, которые будут так же надежны, как и традиционные устройства. Однако по конструкции они будут значительно отличаться от нагревателя в виде простого корыта. Между этими двумя крайними случаями существует много нагревателей самых разнообразных типов, с разной стоимостью, с разной степенью участия пользователя, что является определяющими факторами при окончательном выборе системы.

Крупным недостатком нагревателя с плоским бассейном является необходимость использования его только в горизонтальном положении. В тропиках этот недостаток не имеет существенного значения, но в высоких широтах, где солнце не поднимается высоко над горизонтом, горизонтальный коллектор значительно снижает свою эффективность из-за отражения большей части энергии им самим. Зимой, когда солнце еще ниже над горизонтом, КПД коллектора уменьшается еще больше. Поэтому в более высоких широтах используются, как правило, наклонные коллекторы.

Солнечный коллектор-аккумулятор

Солнечный водонагреватель, объединённый с аккумулятором:

1 — стекло;2 — выпуск горячей воды;3 — впуск холодной воды; 4 — рабочая поверхность коллектора; 5 — разделитель потока воды

Коллектор, изображенный на рисунке, размещен в плоском металлическом контейнере, окрашенном в черный цвет и имеющем покрытие из листового стекла. С одной стороны контейнер имеет выступающий резервуар для воды.

Дефлектор внутри контейнера обеспечивает термосифонную циркуляцию, в результате которой нагретая вода из коллекторного отсека поступает в аккумуляторный отсек, а холодная вода со дна этого отсека поступает в коллектор. Аккумуляторный отсек нагревается в течение дня, а ночью теплоизолируется для уменьшения потерь тепла.

Типичные солнечные водонагреватели

Единственным крупным недостатком нагревателей объединённого типа (коллектор-аккумулятор) является их неспособность воспрепятствовать потерям тепла в облачную погоду или ночью. По этой причине почти все выпускаемые системы СВН имеют отдельный коллектор и отдельный бак-аккумулятор.

Одна из конструкций, применяемых в Израиле, Австралии, Японии, США состоит из наклонного остекленного коллектора, отдельного, хорошо изолированного водяного бака-аккумулятора и теплоизолированных труб, соединяющих эти элементы.

Типичный солнечный водонагреватель

Типичная конструкция промышленного солнечного водонагревателя (герметичный вариант):

1 — горячая вода; 2 — вентиль сброса давления; 3 — слив горячей воды; 4 — запорный вентиль; 5 — вентиль подпитки; 6 — холодная вода; 7 — подача холодной воды; 8 — сливной вентиль

Днище бака-аккумулятора располагается, по крайней мере на 300 мм выше верхней части коллектора. Такая компоновка исключает затраты дополнительной энергии для циркуляции воды в системе. Циркуляция происходит только вследствие естественной конвекции.

При нагреве вода в коллекторе расширяется, становится менее плотной, поднимается по коллектору и через трубу поступает в верхнюю часть бака-аккумулятора. В результате более прохладная вода у днища бака вытесняется и перетекает по другой трубе в нижнюю часть коллектора. Эта вода в свою очередь нагревается и поднимается в бак. Пока светит солнце, вода будет постоянно циркулировать по этому контуру, все более нагреваясь.

Вследствие того, что бак приподнят над коллектором, эффект опрокидывания циркуляции в результате ночного охлаждения теплоносителя в коллекторе сводится на нет, так как холодная вода просто скапливается в нижней точке системы (на дне коллектора), в то время как теплая вода остается в баке.

На практике нашли применение несколько конструктивных вариантов коллектора. Все они в своей основе представляют собой теплоизолированный ящик с одним или более прозрачным покрытием, в котором находится зачерненная металлическая теплоприёмная панель с каналами для циркуляции воды через систему.

В одном из вариантов СВН используется длинная, изогнутая по синусоиде трубка, по которой вода течет снизу вверх. Трубка коллектора припаяна к поверхности плоской металлической пластины, которая имеет большую площадь для поглощения солнечного тепла.

В другом варианте коллектор имеет ряд параллельных труб, соединенных горизонтальными трубами в нижней и верхней частях коллектора.

Кроме того, существует метод изготовления теплоприёмной плиты коллектора путем соединения двух металлических пластин с рельефно отформованной сетью каналов между ними для прохода воды, получивший название метода «холодной прокатки». Этим методом можно получить сеть каналов любого вида. Вариантом этой технологии является поглотитель типа трубы в листе, в котором параллельные каналы в виде труб составляют единое целое с металлической пластиной и соединены между собой горизонтальными каналами вверху и внизу.

Вне зависимости от конструктивных деталей основными задачами при создании коллектора являются следующие:

  • обеспечение максимальной эффективности теплопоглощающей поверхности;
  • использование наилучших средств для быстрого и равномерного переноса тепла к потоку воды;
  • устойчивое и равномерное распределение воды в коллекторе;
  • невысокая стоимость и надежность установки.

Теплоприёмные пластины коллектора изготовляются из: меди, алюминия, оцинкованной стали.

Теплоприёмник коллектора имеет покрытие, повышающее его поглощательную способность. Самым простым и дешёвым покрытием является слой чёрной краски. Однако приближающимся к идеальному будет одно из селективных покрытий, обладающих высокой поглощательной и очень низкой излучательной способностью, что сводит к минимуму вторичное излучение энергии.

Изоляция корпуса, в котором находится теплоприёмная панель, не должна допускать больших потерь энергии, поступающей в установку.

Трубы, ведущие из коллектора в бак-аккумулятор, должны иметь хорошую изоляцию и создавать минимальные помехи циркуляции. В большинстве установок бак размещен рядом с коллектором для того, чтобы свести к минимуму длину труб и соединений. Изоляция труб помогает сохранить поглощенное коллектором тепло и поддерживать температурный напор между поступающей и отводимой водой с тем, чтобы не нарушить термосифонный эффект.

Бак-аккумулятор должен быть достаточно велик, чтобы вмещать двухдневный запас горячей воды.

Существенно и местоположение ввода в бак труб. Труба, подводящая холодную воду к нижней части коллектора, должна забирать ее из самой холодной, нижней части бака. Нагретая вода из коллектора должна поступать в верхнюю (самую теплую) часть бака. Выше впускного отверстия для отбора горячей воды должен быть оставлен объем для накопления полусуточного запаса самой горячей воды, так как вода, поступающая в данный момент из коллектора, не всегда будет достаточно горячей (облачный день, раннее утро) и не должна в этом случае охлаждать имеющийся в баке запас более горячей воды.

Если вспомогательным источником тепла является погружаемый в воду электрический водонагреватель (общепринято для промышленных установок), то он должен устанавливаться ниже суточного объема воды в аккумуляторе. Это дает возможность подогревать только то количество воды, которое необходимо. Преимущество установки бака внутри помещения, помимо снижения требований к изоляции, заключается в том, что какое бы количество тепла не терялось, все оно поступит в жилое помещение, а не во внешнюю среду.

Местоположение и ориентация коллектора

Местоположение, наклон коллектора и его взаимосвязь с баком являются важными факторами, которые в большой степени зависят от архитектурно-планировочного решения здания. Коллектор должен быть ориентирован строго на юг и наклонен к горизонтали под углом, равным широте места. Такая ориентация теоретически оптимальна для круглогодичной работы. В реальных условиях ориентация коллектора зависит от многих факторов. Например, если здание имеет крышу, на которой можно поместить коллектор, то, вероятно, это будет намного дешевле, чем возведение отдельной конструкции. Если при этом азимут и угол наклона коллектора отклоняются от оптимальных на 10–15°, то уменьшение КПД не будет превышать 10% и его уменьшение легко можно будет компенсировать увеличением площади коллектора.

Нагрузка на крышу

При установке коллектора термосифонной системы на крыше бак-аккумулятор часто помещают на уровне конька крыши, а иногда даже в ложной дымовой трубе. Конструкция крыши в этом случае должна быть способной выдержать такую нагрузку. Другие способы организации циркуляции воды применяются там, где указанные требования к установке невыполнимы.

Замерзание системы

В холодном климате СВН должен иметь надежные предохранительные приспособления против замерзания, а это усложняет его конструкцию по сравнению с обычной термосифонной системой, предназначенной для теплой погоды.

Существуют три основных способа защиты коллектора:

  • съемное изоляционное покрытие;
  • устройство для слива воды;
  • применение антифриза вместо воды.

Наиболее распространенным средством защиты против замерзания является применение раствора антифриза в воде. При этом теплообмен между нагретым солнцем раствором и водой в баке-аккумуляторе осуществляется обычно с помощью трубчатого змеевика, погруженного в бак. Змеевик своими концами соединен с питающей и отводной трубками коллектора, при этом термосифонная циркуляция теплоносителя происходит по обычной схеме.

Солнечный водонагреватель с теплообменником

Солнечный водонагреватель с теплообменником внутри бака:

1 — горячая вода; 2 — выпуск горячей воды; 3 — вентиль; 4 — подача холодной воды; 5 — холодная вода; 6 — обратный клапан; 7 — коллектор; 8 — теплообменник

Ограничение, накладываемое термосифонным устройством на архитектурный проект, можно снять применением насосов, но при этом свобода размещения системы достигается дополнительными издержками.

Еще одним вариантом системы, в которой устранены проблемы замерзания, является коллектор Томасона, соединенный с небольшим насосом. Вместо прохождения по замкнутым каналам вода в этом коллекторе свободно стекает вниз по поверхности волнистого металлического листа. Внизу она собирается в желоб и самотеком поступает в бак-аккумулятор.

Поскольку система не является герметичной, вода к потребителю также поступает самотеком, если не накачивается в водонапорный бак. Преимущество коллектора с открытым стеканием воды заключается в том, что вода сливается в бак-аккумулятор просто в результате отключения насоса.

Вариантом использования этого принципа является коллектор Каваи, разработанный в Японии и состоящий из слоя ткани или волокнистого материала, который помещен между двумя металлическими пластинами. Вода медленно просачивается через коллектор, сливаясь снизу.

Вспомогательный нагреватель

Для обеспечения постоянной нагрузки на горячее водоснабжение в системе необходимо предусмотреть установку вспомогательного нагревателя. Самым простым является обычный водонагреватель с автоматикой, который надежен и прост в обращении. Его задача — устранение разницы между температурой воды, поступающей из солнечного нагревателя и постоянной температурой воды, задаваемой потребителем.

Если солнечный водонагреватель полностью обеспечивает требуемую температуру, то вспомогательный подогреватель не включается. Поэтому управление такой системой проще, чем большинством отопительных систем.

Регулирующие устройства

Многие системы СВН не требуют дополнительных регуляторов, кроме термостата, поставляемого с обычным водонагревателем. Конечно, существуют системы СВН с особыми требованиями, но и с ними возникает меньше проблем, чем с системами солнечного отопления.

Комментарии

Последние материалы

  • Ошибки в штукатурных работах
    1 month 1 week ago
  • Ошибки при кладке дымовых труб
    1 month 1 week ago
  • Ошибки при кладке фундаментных стен
    1 month 1 week ago
  • Ошибки при бетонировании
    1 month 1 week ago
  • Характеристики солнечного коллектора
    1 month 4 weeks ago

Последние комментарии

  • (Тема не указана)
    7 months 3 weeks ago
  • Строительство на лугу вижу и…
    2 years ago
  • На фото показано возведение…
    2 years ago
  • Мне он тоже нравится…
    3 years 3 months ago
  • От этого дома буквально…
    3 years 3 months ago
RSS feed

Secondary menu

  • ЧаВо

© 2003–2025 Олег Меньшенин mensh@yandex.ru