Перейти к основному содержанию
Mensh.ru

Main navigation

  • Конструкции
  • Системы
  • Энерго
  • Стили
  • Проекты
  • Участок
  • Разное
  • Доки
User account menu
  • Войти

Строка навигации

  1. Главная

Конструкции каминов

Автор: mensh, 27 июля, 2003
Инженерные системы
  • Камины
  • Отопление

Конструкция камина позволяет осуществлять эффективную отдачу тепла в помещение. Самой ответственной её частью является переход от топливника к дымосборнику.

Пристроенный камин

От правильной формы дымового уступа (зуба) и отношения ширины, высоты и глубины топливника во многом зависят эксплуатационные качества камина.

Размер дымового зуба равен 10–12 см. Он улучшает тягу и не дает холодному воздуху попасть из дымовой трубы в топливник.

На его работу оказывают влияние также:

  • размеры дымосборника;
  • высота трубы;
  • площадь ее сечения.

Наименование различных деталей конструкции камина

Наименование различных деталей камина: 1- дымовая труба; 2 — дымоход; 3 — дымовая камера; 4 — заслонка; 5 — дымовая полка; 6 — вход (дыма); 7 — косая верхняя часть задней стенки; 8 — задняя стенка очага; 9 — колосниковая решетка; 10 — зольник

В каминах с воздушным подогревом часто не создают дымовой карниз (зуб), а пирамидально уменьшают топочное пространство до соединения с расположенной над ним дымовой трубой, хотя при таком решении существует некоторая опасность задувания топочных газов в отапливаемое помещение.

Для предотвращения опрокидывания тяги в камине и задувания газов в помещение дымовую трубу рекомендуется располагать не прямо над топочным пространством, а сбоку от него.

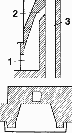
Камин с боковым расположением дымового канала

Камин с боковым расположением дымового канала: 1 — камин; 2 — соединительный газоход; 3 — дымоход

Для лучшего отражения лучистого тепла в отапливаемое помещение боковые стены топливника делают скошенными под углом 45–60°, а заднюю стенку (примерно в 1/3–1/2 ее высоты) — наклонной.

Комментарии

Последние материалы

  • Ошибки в штукатурных работах
    1 month 2 weeks ago
  • Ошибки при кладке дымовых труб
    1 month 2 weeks ago
  • Ошибки при кладке фундаментных стен
    1 month 2 weeks ago
  • Ошибки при бетонировании
    1 month 2 weeks ago
  • Характеристики солнечного коллектора
    2 months ago

Последние комментарии

  • (Тема не указана)
    8 months ago
  • Строительство на лугу вижу и…
    2 years 1 month ago
  • На фото показано возведение…
    2 years 1 month ago
  • Мне он тоже нравится…
    3 years 3 months ago
  • От этого дома буквально…
    3 years 3 months ago
RSS feed

Secondary menu

  • ЧаВо

© 2003–2025 Олег Меньшенин mensh@yandex.ru