Топливник печи для кизяка целесообразен в южных регионах, где хозяйства имеют значительное количество жвачных животных.

Топливник для кизяка:
Применение
Такие топливники наиболее целесообразны в южных районах, где легко организовать заготовку и естественную сушку кизяка. Кизяк горит тлеющим пламенем подобно древесному углю, однако выход летучих веществ у него значителен. Теплота сгорания кизяка составляет 10000–12000 кДж/кг.
Конструктивные особенности
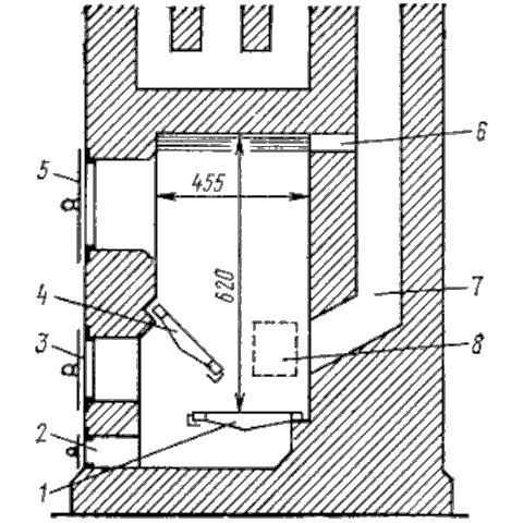
Кизяк с влажностью 30% сжигают в топливниках, конструкция которых подобна топливникам для торфа. Для того, чтобы мелкие частицы кизяка не проваливались в зольник, зазоры в колосниковых решётках не должны превышать 10 мм. Топливо подсушивается на крутонаклонной решётке.
Толщина слоя топлива поддерживается в пределах 150–200 мм. Пар выходит через отверстие. Высота топливника над слоем топлива не должна превышать 400 мм. Дым из топки отводится через тыльный или боковой канал.
Комментарии