Перейти к основному содержанию
Mensh.ru

Main navigation

  • Конструкции
  • Системы
  • Энерго
  • Стили
  • Проекты
  • Участок
  • Разное
  • Доки
User account menu
  • Войти

Строка навигации

  1. Главная
  2. СНиП II-26-76

Приложение 6

Схемы деталей кровель

Примеры примыканий кровель
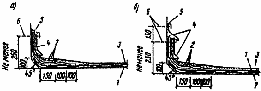
Рис. 1. Примеры примыканий кровель: а — к стенам высотой более 450 мм; б — то же, при выполнении мероприятий по п. 5.2; 1 — основной водоизоляционный ковер (по табл. 2); 2 — слой дополнительного водоизоляционного ковра с верхним слоем из рубероида (или толи) с крупнозернистой или чешуйчатой посыпкой (по п. 2.5); 3 — защитный слой (согласно табл. 2); 4 — защитный фартук из оцинкованной кровельной стали; 5 — герметизирующая мастика )согласно п. 2.9); 6 — оси крепежных элементов ( для закрепления слоев водоизоляционного ковра, защитных фартуков); 7 — диффузионная прослойка (согласно п. 5.2), сообщающаяся с наружным воздухом
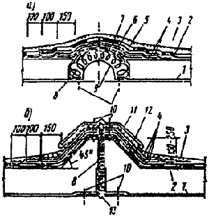
Примеры решений деформационных швов
Рис. 2. Примеры решений деформационных швов: а — при ширине шва до 60 мм с полукруглым компенсатором из оцинкованной стали (при ширине вставки 500–1000 мм компенсатор выполнять из листовой стали толщиной 3–4 мм); б — со стенками из сборных бетонны деталей; 1 — пароизоляция (по расчету); 2 — основной водоизоляционный ковер (по табл. 2); 3  защитный слой (согласно табл. 2); 4 — слой дополнительного водоизоляционного ковра по п. 2.5 (в швах с полукруглыми компенсаторами выполнять из стеклоткани или стеклосетки); 5 — полоса рубероида (насухо); 6 — выкружка из оцинкованной кровельной стали; 7 — полотнище рубероида (насухо); 8 — несгораемый минераловатный утеплитель; 9 — компенсатор радиусом 80 мм из оцинкованной стали; 10 — оси крепежных элементов; 11 — фартук из оцинкованной стали; 12 — полосы из стали 4x40 мм через 600 мм; 13 — V-образный компенсатор
Пример решений пропуска труб
Рис. 3. Пример решений пропуска труб: 1 — основной водоизоляционный ковер; 2 — защитный слой (согласно табл. 2); 3 — слой дополнительного водоизоляционного ковра; 4 — ось крепежных элементов; 5 — зонт из оцинкованной кровельной стали; 6 — круглый или прямоугольный стальной патрубок с фланцем; 7 — просмоленная пакля; 8 — зажимной хомут; 9 — герметизирующая мастика; 10 — пропускная труба
Примеры решения кровель в местах установки водосточных воронок
Рис. 4. Примеры решения кровель в местах установки водосточных воронок: а — в покрытиях с железобетонными плитами при эксплуатируемой кровле (см. п.2.11); б — то же, при неэксплуатируемой кровле; 1 — основной водоизоляционный ковер (по табл. 2); 2 — защитный слой (согласно табл. 2); 3 — слои дополнительного водоизоляционного ковра из мастик, армированных стеклосеткой или стеклотканью; 4 — струевыпрямитель колпака водоприемной воронки; 5 — съемная крышка водоприемного колпака; 6 — накидная гайка с шайбой; 7 — прижимное кольцо; 8 — гравий фракцией не менее 15 мм; 9 — цементно-песчаный раствор или кварцевый песок (по п. 2.11); 10 — бетонные или армоцементные плитки (по п. 2.11); 11 — зажимной хомут; 12 — чаша водоприемной воронки
  • Войдите или зарегистрируйтесь, чтобы оставлять комментарии

Последние материалы

  • Ошибки в штукатурных работах
    1 month 3 weeks ago
  • Ошибки при кладке дымовых труб
    1 month 3 weeks ago
  • Ошибки при кладке фундаментных стен
    1 month 3 weeks ago
  • Ошибки при бетонировании
    1 month 3 weeks ago
  • Характеристики солнечного коллектора
    2 months 1 week ago

Последние комментарии

  • (Тема не указана)
    8 months ago
  • Строительство на лугу вижу и…
    2 years 1 month ago
  • На фото показано возведение…
    2 years 1 month ago
  • Мне он тоже нравится…
    3 years 3 months ago
  • От этого дома буквально…
    3 years 3 months ago
RSS feed

Secondary menu

  • ЧаВо

© 2003–2025 Олег Меньшенин mensh@yandex.ru