
Различные варианты одномаршевых лестниц, в том числе с поворотами Лестницы с прямыми маршами являются наиболее распространённым типом лестниц. Они распространены потому, что: обеспечивают безопасное движение; имеют наиболее простое в сравнении с другими типами устройство. Такие лестницы сооружать проще, чем лестницы криволинейные или дугообразные, кроме того, их можно сооружать из готовых элементов.

Различные вариации одномаршевых лестниц с поворотами
Согласно техническим нормам, прямые одномаршевые лестницы предназначены для соединения уровней с перепадом высот не более 3 м, что вводит ограничеие на их использование.
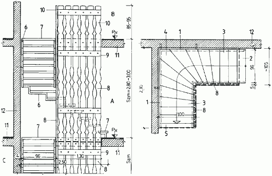
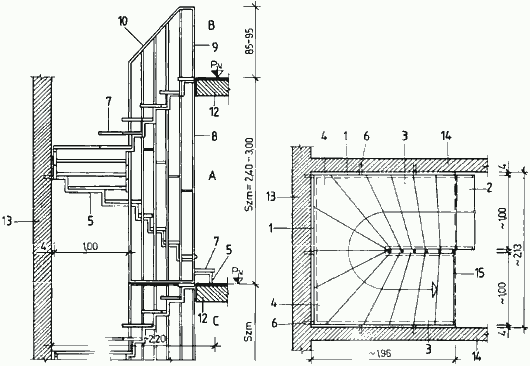
Лестница с прямым маршем, с поворотом на 1/4, несущим каркасом и барьером: a — горизонтальная проекция; b — вертикальная проекция; A — первый этаж; B — второй этаж; C — полуподвальный цокольный этаж; 1 — марш; 2 — нижняя фризовая ступень; 3 — основная ступень; 4 — поворотная забежная ступень; 5 — верхняя фризовая ступень; 6 — элемент каркаса; 7 — деревянная ступень; 8 — деревянные ограждения; 9 — несущая опора ограждения; 10 — барьер; 11 — перекрытие; 12 — несущая стена При разделении прямой одномаршевой лестницы промежуточной лестничной площадкой ею можно соединить уровни с большей разницей высот, однако если таких уровней много, то сложность будет заключаться в неэкономном использовании свободного пространства, а при перемещении с этажа на этаж придётся преодолевать слишком большое расстояние. Прямолинейная лестница с поворотом на 1/4 в начале пути, со сборной барьерной стенкой, являющейся одновременно стенкой прихожей: A — первый этаж: B — второй этаж; С — полуподвальный цокольный этаж; 1 — лестничный марш; 2 — нижняя фризовая ступень; 3 — поворотная забежная ступень; 4 — основная ступень; 5 — конструкция лестничного каркаса; 6 — встроенная в стену опорная стойка; 7 — деревянные ступени; 8 — деревянные доски (элемент ограждения); 9 — барьер галереи; 10 — поручень; 11 — перекрытие крыши; 12 — перекрытие этажа; 13 — несущая стена; 14 — перегородка; 15 — отверстие в перекрытии; 16 — опорные резьбовой элемент; 17 — ящики; 18 — вешалки для одежды; 19 — зеркало Использование лестниц с прямыми маршами оправданно лишь в тех случаях, когда нужно соединить лишь два уровня, или же в случае, если сбоку к лестничному маршу примыкает свободное пространство или коридор, и для прохождения по лестнице не требуется дополнительного места. Прямолинейная лестница с поворотом на 1/4 в конце пути со сборными элементами лестницы и ограждения обозначения см. здесь Из всего этого следует, что среди лестниц с прямыми маршами самыми распространёнными остаются прямолинейные двух- или трёхмаршевые, обеспечивающие удобство и безопасность передвижения и занимающие при этом минимум свободного пространства. Прямолинейная лестница с поворотом на 2/4 в начале и конце пути, со сборными элементами лестницы и ограждения: обозначения см. здесь Место, занимаемое лестницей с прямым маршем, можно сократить, существенно улучшив при этом внешний вид пространства, если в прямые участки марша (или маршей) встроить забежные ступени клинообразной формы, избежав при этом необходимости сооружать дополнительную лестничную площадку. Прямолинейная лестница с поворотом на 1/2 в середине пути, со сборными элементами лестницы, несущей конструкции и ограждения: обозначения см. здесь Следует помнить, что использование лестниц этого типа ограничено, поскольку согласно нормам безопасности, лестницы с клинообразными ступенями в зданиях с большой интенсивностью движения не могут быть использованы при эвакуации. Поэтому лестницы данного типа в основном используются в 2–3 этажных коттеджах, а также в качестве дополнительных лестниц (дополнительную лестницу можно не учитывать на случай экстренных ситуаций).




Комментарии