Перейти к основному содержанию
Mensh.ru

Main navigation

  • Конструкции
  • Системы
  • Энерго
  • Стили
  • Проекты
  • Участок
  • Разное
  • Доки
User account menu
  • Войти

Строка навигации

  1. Главная

Система полива участка

Автор: admin, 30 июня, 2023
Дизайн участка
  • Полив

Дешёвую и эффективную систему полива дачного участка несложно изготовить самостоятельно из доступных узлов и материалов.

Система полива дачного участка своими руками

Содержание

  • Описание конструкции
  • Принцип работы системы полива
  • Необходимые узлы и материалы
  • Конструктивные узлы системы
  • Рекомендации

Описание конструкции

Для сооружения системы полива не требуется строительства несущих конструкций из дорогостоящих материалов.

Эффективна в использовании конструкция из 6 металлических бочек, соединённых между собой полуавтоматической системой наполнения и расходования воды.

Система полуавтоматического полива растений, собранная из 6 бочек, внешний вид

Внешний вид

Бочки соединены в одну систему общим объёмом около 1,5 м³. Автоматическое наполнение системы по мере расходования воды обеспечивается применением поплавковых клапанов от смывных туалетных бачков и переливными трубами, соединяющими ёмкости, находящиеся на одном уровне.

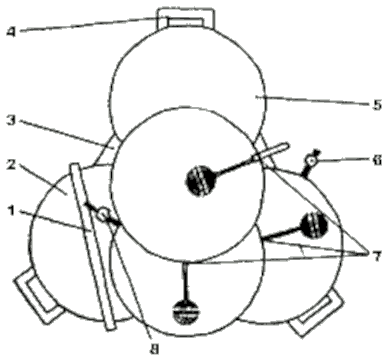
Схема полуавтоматической системы полива растений

Схема системы:
1 — шланг водоподачи; 2 — поплавковый клапан верхнего яруса; 3 — поплавковый клапан среднего яруса; 4 — автоматика насоса; 5 — сливной кран среднего яруса; 6 — вибрационный насос; 7 — шланг водоразбора; 8 — сливной кран; 9 — переливные патрубки нижнего яруса; 10 — плиты основания; 11 — поплавковый клапан нижнего яруса; 12 — переливной патрубок среднего яруса

Водоразбор из системы осуществляется как самотёком через сливные краны, так и при помощи вибрационного насоса.

Принцип работы системы полива

Полуавтоматическая система работает следующим образом. Подача воды обеспечивается из водопровода или колодца насосом при помощи шланга в верхний бак через штуцер, снабжённый поплавковым клапаном.

Бочки среднего яруса соединены между собой переливной трубой, с верхним баком — штуцером с поплавковым клапаном; 3 бочки нижнего яруса — снизу переливными трубами, с верхними бочками — штуцером с поплавковым клапаном.

При открытых поплавковых клапанах вода из верхнего штуцера самотёком сначала наполняет бочки нижнего яруса, затем поплавковый клапан закрывается и ограничивает дальнейшее поступление в них воды, начинают наполняться бочки среднего яруса, а потом в таком же порядке и верхнего.

По мере расходования воды вся система автоматически наполняется из водопровода. В случае, если расход её превышает заполнение расходной ёмкости (бочка с насосом), приток воды увеличивается при помощи сливного крана среднего яруса, который смонтирован над расходной бочкой.

Вид системы полуавтоматического полива растений сверху

Вид системы сверху:
1 — перекладина крепления насоса; 2 — расходный бак; 3 — средняя плита основания; 4 — внешняя плита основания; 5 — бочка среднего яруса, совмещенная с бочкой нижнего яруса; 6 — сливной кран; 7 — поплавковый клапан; 8 — сливной кран среднего яруса

Для исключения надзора за работой системы насос снабжён автоматикой отключения питания при критическом понижении уровня воды в расходной ёмкости. Бочки можно наполнить и дождевой водой, подавая ее от водостока к ёмкости шлангом.

Необходимые узлы и материалы

Для сооружения системы используются:

  • 6 металлических бочек;
  • 3 поплавковых клапана от туалетных смывных бачков;
  • 2 сливных крана с патрубками;
  • 4 переливных трубы диаметром 40–50 мм и длиной 100 мм.

Конструктивные узлы системы

Устройство всех монтажных соединений показано на рисунках.

Переходной патрубок системы

Переходной патрубок системы:
1 — патрубок с резьбой; 2 — гайки; 3 — прокладки; 4 — бочка

Бочки не имеют специальных креплений и устойчиво стоят за счёт собственной массы, поэтому здесь необходимо уделить особое внимание устройству фундамента, а главное, нивелировке опорных плит.

Поплавковый клапан системы

Поплавковый клапан системы:
1 — верхняя бочка; 2 — поплавковый клапан; 3 — нижняя бочка

Для обеспечения нормального водослива самотёком вся система должна быть приподнята над уровнем земли и установлена на бетонные монолитные плиты или постелистые природные камни. Площадку для них желательно забутить на глубину 40–50 см. Бетонные плиты ставят на растворе или выполняют из монолитного бетона в опалубке.

Рекомендации

Для лучшего подогрева воды бочки снаружи надо окрасить в чёрный цвет.

Сливной кран системы

Сливной кран системы:
1 — крепление гайками с прокладками; 2 — кран; 3 — патрубок

С наступлением холодов воду из системы сливают, бочки верхнего и среднего яруса переворачивают вверх дном и ставят на бочки нижнего яруса, сливной кран которого оставляют открытым.

Комментарии

Последние материалы

  • Ошибки при кладке фундаментных стен
    12 hours 28 minutes ago
  • Ошибки при бетонировании
    4 days ago
  • Характеристики солнечного коллектора
    1 week 1 day ago
  • Растущий дом Double Wide Farmhouse
    1 week 1 day ago
  • Землебитный дом Roundhouse Studio
    1 week 2 days ago

Последние комментарии

  • (Тема не указана)
    6 months ago
  • Строительство на лугу вижу и…
    1 year 11 months ago
  • На фото показано возведение…
    1 year 11 months ago
  • Мне он тоже нравится…
    3 years 1 month ago
  • От этого дома буквально…
    3 years 1 month ago
RSS feed

Secondary menu

  • ЧаВо

© 2003–2025 Олег Меньшенин mensh@yandex.ru