Перейти к основному содержанию
Mensh.ru

Main navigation

  • Конструкции
  • Системы
  • Энерго
  • Стили
  • Проекты
  • Участок
  • Разное
  • Доки
User account menu
  • Войти

Строка навигации

  1. Главная

Купальный бассейн

Автор: mensh, 17 августа, 2023
Дизайн участка
  • Бассейны

При строительстве купального бассейна на даче своими руками можно значительно сократить объём земляных работ следуя изложенной здесь схеме и технологии.

Купальный бассейн на даче своими руками

Содержание

  • Преимущества конструкции бассейна
  • Выбор места и разметка площадки
  • Этапы строительных работ
    • Фундаментные стены
    • Внешние стены и дно бассейна
    • Водослив
    • Лестница
  • Подготовка к эксплуатации

Преимущества конструкции бассейна

Предложенная конструкция бассейна позволяет попутно создать новый рельеф участка, значительно упрощает систему слива воды и сокращает затраты на гидроизоляцию. Кроме того, создание насыпи, облицованной плиткой, позволяет использовать её в качестве солярия.

Размеры бассейна следует делать исходя из имеющихся возможностей. Как правило его сооружают площадью водной поверхности 10–15 м².

Выбор места и разметка площадки

Сначала выбирают место и размечают площадку с учётом ширины насыпи, которая, как правило, составляет 1/3 его ширины. После этого на выбранной участке снимают верхний слой почвы и размечают траншеи для котлована. При этом рекомендуется использовать метод выносной разметки.

Этапы строительных работ

Фундаментные стены

Траншеи выкапывают на глубину 60 см, тщательно выравнивают стенки и как можно быстрее заливают бетоном, чтобы они не успели осыпаться.

Перед бетонированием внешние стенки траншеи выстилают рулонным гидроизоляционным материалом с нахлестом 20–30 см; их длину предусматривают с запасом, чтобы потом хватило застелить и опалубку. Затем устанавливают арматуру в виде крупноячеистой арматурной сетки.

Внешние стены и дно бассейна

Залив траншею бетоном, устанавливают опалубку и заливают верхнюю часть стенок, не забывая оставить отверстия для переливной и сливной труб. Между стенками траншеи оставляют в необходимом месте 2 отрезка асбестоцементной трубы диаметром 100 мм.

После того, как бетон «схватится» и приобретёт достаточную прочность, снимают опалубку и роют котлован, одновременно формирую насыпь до подошвы стенок.

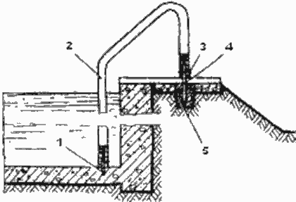
Схема устройства купального бассейна и технология выполнения работ

Схема устройства купального бассейна и технология выполнения работ:
1 — опалубка; 2 — уровень площадки со снятым плодородным слоем; 3 — уровень поверхности земли; 4 — рулонная гидроизоляция; 5 — арматура; 6 — цементная стяжка; 7 — облицовочные плиты; 8 — переливная труба; 9 — заглушка; 10 — дёрн; 11 — асбестоцементная труба; 12 — сливная труба; 13 — вентиль сливной трубы; 14 — ниша вентиля; 15 — цементно-песчаный раствор 1:2; 16 — вороток для открытия вентиля

На дно котлована насыпают и тщательно утрамбовывают щебень слоем 10 см, после чего кладут слой песка и выравнивают его трамбованием периодически проливая водой. На эту ровную поверхность расстилают гидроизоляционный материал в несколько слоёв, затем кладут арматуру и заливают дно бетоном.

Дно выполняется с уклоном 5–6 % в сторону водосливной трубы. Если бассейн предназначен для купания детей, то рельеф дна соответственно изменяют, предусмотрев зону мелководья — лягушатник.

Водослив

Систему водослива устраивают из трубы с вентилем, расположенным в выложенной из кирпича нише и соединённой с ней (за вентилем) переливной трубой. Их заделывают в оставленные в стене бассейна отверстия на растворе. С внутренней его стороны заборные концы труб закрывают легкосъемными сетчатыми фильтрами, предупреждающими засорение водослива.

Заделка сливной и переливной трубы купального бассейна

Заделка сливной и переливной трубы:
1 — легкосъемные сетчатые фильтры; 2 — переливная труба; 3 — асбестоцементные футляры; 4 — сливная труба

В случае отсутствия централизованной канализации водослив можно осуществлять в поглощающую яму открыванием вентиля, для чего предусмотрен длинный вороток с вилкой под маховик вентиля и рукояткой.

В качестве окончательной отделки бассейн можно облицевать кафельной плиткой или в крайнем случае цементным раствором 1:2 с последующим «железнением», насыпь — бетонными плитами, а склон покрыть дёрном.

Лестница

Для бассейна следует предусмотреть металлическую лестницу с поручнями. Для удобства пользования её лучше сделать съёмной. Устанавливают лестницу на 4 патрубках, 2 из которых заделаны в дно, а 2 других — в насыпь; поручни крепят к патрубкам шпильками.

Крепление поручня лестницы купального бассейна

Крепление поручня лестницы:
1 — нижний патрубок; 2 — поручень лестницы; 3 — шпилька; 4 — верхний патрубок; 5 — бетон

Подготовка к эксплуатации

Перед началом эксплуатации бассейн заполняют водой на сутки, и еще дважды или трижды меняют воду для удаления неприятного запаха, выделяемого свежеуложенным бетоном.

Комментарии

Последние материалы

  • Землебитный дачный дом
    4 hours 58 minutes ago
  • Компактный загородный дом
    1 day 6 hours ago
  • Землебитный солнечный дом Earthbag Arc House
    1 day 9 hours ago
  • Землебитный дом 2-Story Earthbag Roundhouse
    1 day 9 hours ago
  • Землебитный дом Solar Santa Fe
    2 days 8 hours ago

Последние комментарии

  • (Тема не указана)
    3 months 4 weeks ago
  • Строительство на лугу вижу и…
    1 year 9 months ago
  • На фото показано возведение…
    1 year 9 months ago
  • Мне он тоже нравится…
    2 years 11 months ago
  • От этого дома буквально…
    2 years 11 months ago
RSS feed

Secondary menu

  • ЧаВо

© 2003–2025 Олег Меньшенин mensh@yandex.ru