Перейти к основному содержанию
Mensh.ru

Main navigation

  • Конструкции
  • Системы
  • Энерго
  • Стили
  • Проекты
  • Участок
  • Разное
  • Доки
User account menu
  • Войти

Строка навигации

  1. Главная

Гидроизоляция сопряжений

Автор: mensh, 26 апреля, 2023
Конструкции дома
  • Гидроизоляция

Довольно часто возникает необходимость сопряжения оклеечной гидроизоляции с окрасочной, гидроизоляции деформационных швов и мест пропуска труб и кабелей.

Гидроизоляция сопряжений

Содержание

  • Сопряжение различных видов гидроизоляции
  • Устройство гидроизоляции над деформационными швами
  • Гидроизоляция в местах заделки анкеров, пропуска труб

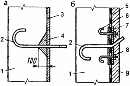
Сопряжение различных видов гидроизоляции

При примыкании оклеечной гидроизоляции к окрасочной все слои оклеечного ковра наклеивают на окрасочную гидроизоляцию на полосе шириной не менее 500 мм. Место сопряжения покрывают дополнительным слоем окрасочной гидроизоляции.

Сопряжение различных видов гидроизоляции

Сопряжение различных видов гидроизоляции:
а — оклеечной гидроизоляции с окрасочной; б — асфальтовой с окрасочной; в — оклеечной с асфальтовой; г — оклеечной со штукатурной;
1 — гидроизолируемая конструкция; 2 — окрасочная гидроизоляция; 3 — дополнительный слой окрасочной гидроизоляции; 4 — выпуски 3-слойного оклеечного ковра; 5 — оклеечная гидроизоляция; 6 — дополнительная полоса асфальтовой гидроизоляции; 7 — асфальтовая гидроизоляция; 8 — штукатурная гидроизоляция

Место соединения асфальтовой гидроизоляции с оклеечной или окрасочной перекрывают полосой асфальтовой гидроизоляции шириной не менее 300–400 мм. Соединение штукатурной изоляции с оклеечной в месте сопряжения огрунтовывают цементным раствором и наклеивают слои оклеечного ковра полосой не менее 500 мм на штукатурную изоляцию.

Устройство гидроизоляции над деформационными швами

Деформационные швы — сквозные зазоры шириной 20–30 мм, разделяющие смежные участки изолируемой конструкции.

В таких местах гидроизоляционное покрытие устраивают сплошным и водонепроницаемым. Это обеспечивается заполнением зазора эластичными мастиками, перекрытием устья шва профилированными резиновыми или пластиковыми лентами, жгутами из пенополиэтилена.

Гидроизоляция деформационных швов в основании

Гидроизоляция деформационных швов в основании:
а — перекрытие профилированной резиновой или пластиковой лентой; б — перекрытие пенополиэтиленовым жгутом; в — перекрытие фигурным металлическим компенсатором;
1 — бетонное основание; 2 — заполнение шва эластичной мастикой; 3 — профилированная лента; 4 — гидроизоляционный ковёр; 5 — дополнительный слой гидроизоляции; 6 — защитная цементная стяжка; 7 — шов, заполненный волокнистым материалом; 8 — жгут; 9 — прокладка из пергамина; 10 — стальной компенсатор

Деформационный шов может быть перекрыт фигурным компенсатором из нержавеющих стальных листов, уложенных на гидроизолируемое основание или закреплённых анкерными болтами. Листы фигурных компенсаторов соединяют внахлёстку с последующей сваркой стыков.

Ленты, жгуты, фигурные листы, перекрывающие устье деформационного шва, обеспечивают непрерывность и водонепроницаемость гидроизоляционного покрытия.

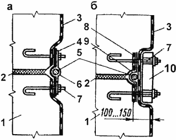
Гидроизоляция деформационных швов в стенах

Гидроизоляция деформационных швов в стенах:
а — перекрытие профилированной лентой; б — перекрытие фигурным стальным компенсатором;
1 — изолируемая конструкция; 2 — эластичная мастика; 3 — гидроизоляционное покрытие; 4 — резиновая профилированная лента; 5 — резиновый жгут; 6 — защитный стальной кожух; 7 — анкерный болт; 8 — стальной компенсатор; 9 — дополнительный слой гидроизоляции; 10 — защитный брус

Деформационные швы стен гидроизолируют так же, как и горизонтальные поверхности.

Гидроизоляция в местах заделки анкеров, пропуска труб

При асфальтовой гидроизоляции вокруг анкерных болтов, заделанных в бетонное основание, оставляют конических лунки глубиной до 100 мм. Затем болты и лунки очищают и грунтуют битумным лаком. Углубления вокруг анкерных болтов заполняют асфальтовой смесью, образующей здесь утолщённое покрытие.

Заделка выпусков анкерных болтов при гидроизоляции

Заделка выпусков анкерных болтов при гидроизоляции:
а — асфальтовой; б — оклеечной;
1 — гидроизолируемая конструкция; 2 — анкерный болт; 3 — асфальтовая гидроизоляция; 4 — лунка, заполненная асфальтовой мастикой; 5 — оклеечная гидроизоляция; 6 — закладная деталь, заделанная в конструкцию; 7 — накладка; 8 — гайка; 9 — защитное ограждение

В местах выпуска анкерных болтов при оклеечной гидроизоляции устанавливают закладные детали. Их наружная поверхность располагается в плоскости гидроизоляции. Кромки наклеиваемого ковра вокруг анкерного болта закрывают стальной накладкой и затягивают гайки на болтах закладной детали. Этим обеспечивается плотность оклеечного ковра в местах выпуска анкерных болтов.

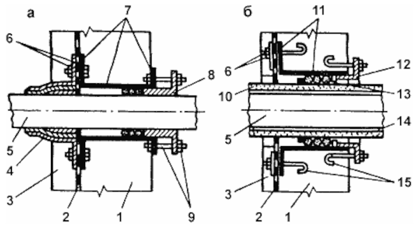
Гидроизоляция в местах пропуска труб

Гидроизоляция в местах пропуска труб:
а — холодных; б — горячих;
1 — гидроизолируемая конструкция; 2 — оклеечная гидроизоляция; 3 — защитное ограждение; 4 — манжет из битумированной стеклоткани; 5 — труба; 6 — стальная накладка с гайкой; 7 — трубчатая накладная деталь; 8 — фланец; 9 — шпилька с гайкой; 10 — теплоизоляция; 11 — трубчатая закладная деталь с фланцем; 12 — упор-фланец; 13 — уплотняющая набивка; 14 — кольцевой упор; 15 — анкерные болты

Трубы и кабели пропускают через гидроизоляцию в закладных деталях, которые представляют собой отрезки трубы с приваренными на конце фланцами. Диаметр закладной детали больше диаметра пропускаемой трубы. Фланцы у закладной детали шириной не менее 120 мм и их наружная поверхность располагаются в плоскости гидроизоляции.

К трубе, проходящей через гидроизоляцию, приваривают фланец. Затем шпильками и гайками стягивают фланцы накладной детали и трубы. После этого уплотняют зазор между трубой и закладной деталью.

Ковёр оклеечной гидроизоляции, примыкающий к трубе, защемляют стальной накладкой. Затяжкой гаек и устройством манжета из битумированной стеклоткани обеспечивают плотность гидроизоляционного покрытия.

Горячие трубы пропускают через пустотелые закладные детали в гидроизолируемой конструкции. В местах пропуска с обеих сторон выпускают анкерные болты. К ним с одной стороны крепят стальную накладку, защемляющую кромки гидроизоляционного ковра, с другой — упор с уплотняющей набивкой.

Поверхности стальных закладных деталей до устройства гидроизоляции очищают от грязи и ржавчины и затем покрывают разжиженным битумом или антикоррозийным лаком.

Комментарии

Последние материалы

  • Ошибки в штукатурных работах
    1 week 5 days ago
  • Ошибки при кладке дымовых труб
    1 week 5 days ago
  • Ошибки при кладке фундаментных стен
    1 week 5 days ago
  • Ошибки при бетонировании
    1 week 5 days ago
  • Характеристики солнечного коллектора
    4 weeks 1 day ago

Последние комментарии

  • (Тема не указана)
    6 months 3 weeks ago
  • Строительство на лугу вижу и…
    1 year 11 months ago
  • На фото показано возведение…
    1 year 11 months ago
  • Мне он тоже нравится…
    3 years 2 months ago
  • От этого дома буквально…
    3 years 2 months ago
RSS feed

Secondary menu

  • ЧаВо

© 2003–2025 Олег Меньшенин mensh@yandex.ru