Перейти к основному содержанию
Mensh.ru

Main navigation

  • Конструкции
  • Системы
  • Энерго
  • Стили
  • Проекты
  • Участок
  • Разное
  • Доки
User account menu
  • Войти

Строка навигации

  1. Главная

Воздушный теплоаккумулятор

Автор: mensh, 27 июля, 2003
Гелиоустановки
  • Тепловые аккумуляторы

Теплоаккумулятор системы воздушного солнечного отопления в качестве теплоаккумулирующей среды содержит камни, преимуществом которых является их низкая стоимость.

Теплоаккумулятор в системе воздушного солнечного отопления

Конструкции теплоаккумуляторов системы воздушного солнечного отопления

В зависимости от конструкции и размеров отсека для камней могут потребоваться камни размером до 100 мм. На 1 м² солнечного коллектора требуется 35–180 кг камней из-за их малой теплоемкости.

Огромное количество камней усложняет проблему их транспортировки и перегрузки, а также требует отсека, достаточного по размеру, чтобы вместить их. При 30% пустот объем камней, необходимый для аккумулирования того же количества тепла, что и бак с водой, должен быть в 2,5 раза больше.

Большая периметральная площадь этих отсеков-аккумуляторов влечет за собой более высокие строительные расходы и большие потери тепла. Потенциальная возможность более значительных потерь тепла из больших отсеков с камнями по сравнению с меньшими по размеру водяными баками, тем не менее, компенсируется сравнительно медленным естественным движением тепла через камни в отличие от постоянного движения воды внутри большого бака при изменении температуры (например, из-за потери тепла).

Одним из серьезных ограничений в использовании камней является недостаточность их универсальности как рабочих тел для других целей помимо аккумулирования тепла, они, например, не могут служить теплоносителем для подогрева воды, охлаждения и даже отопления жилого помещения. Один из немногих и наиболее распространенных способов приготовления горячей воды в этом случае заключается в установке небольшого (0,1–0,4 м³) неизолированного водяного бака между камнями. Теплообмен протекает медленно, но продолжается круглые сутки.

Методы солнечного охлаждения применимы тогда, когда камни удерживают прохладу для дальнейшего использования. Эту прохладу можно получить путем:

  • циркуляции холодного ночного воздуха;
  • воздуха, охлажденного ночной радиацией;
  • воздуха, охлажденного внепиковыми холодильными компрессорами.

Воздушные теплоаккумуляторы ограничивают способ передачи тепла окружающему пространству.

На рисунке показан купольный дом, спроектированный фирмой Тотал энвайронментал экшн, в котором теплоаккумуляторный отсек с камнями расположен в пределах помещения.

Передача тепла из отсека в помещение происходит медленно путем естественной конвекции из комнаты в нижнюю часть отсека и оттуда через верх, а при необходимости, при помощи небольших вспомогательных вентиляторов (куполообразная форма была выбрана заказчиком, а отдельно стоящий солнечный коллектор указывает на ограничения, накладываемые строительным участком).

Воздушные коллекторы и теплоаккумулятор с твердой засыпкой

Воздушные солнечные коллекторы (расположенные отдельно) и теплоаккумулятор с твердой засыпкой в купольном доме:

A — панели солнечного коллектора;
B — контейнер теплоаккумулятора с кирпичным или каменным щебнем;
C — подземный изолированный канал для подачи воздуха

Местоположение теплового аккумулятора с камнями может явиться серьезным ограничением в их использовании. Если теплоаккумулятор размещается в подвале здания, то расходы на сооружение отсека необязательно должны быть включены в общую стоимость системы солнечного теплоснабжения. Однако, если под теплоаккумулятор отводится подвал, предназначенный для других целей, или жилое помещение, то стоимость сооружения такого отсека добавляется к стоимости системы.

На следующем рисунке показано использование контейнера-аккумулятора с засыпкой из камней в качестве архитектурного элемента здания. В доме Джорджа Лефа (Денвер, Колородо) этот способ применен довольно удачно. Однако из-за большого веса контейнеров или отсеков для камней под ними должны предусматриваться прочные фундаменты.

Засыпка в вертикальном цилиндрическом теплоаккумуляторе

Засыпка, содержащаяся в вертикальном цилиндре из фиброкартона

На cледующем рисунке представлен разрез дома в Бостоне, выполненного по проекту фирмы Тотал энвайронментал экшн на средства фирмы АИА Рисерч корп. Американского института архитекторов.

Площадка для дома представляет собой крутой северный склон холма с высокими зданиями к югу. Солнечный коллектор устанавливается как можно выше, чтобы не попасть в тень от соседних зданий. Вследствие своих больших размеров и массы теплоаккумулирующий отсек с камнями находится на нижнем этаже здания.

Разрез солнечного дома

Разрез солнечного дома (Бостон)

В проекте предусмотрен довольно простой способ передачи тепла к отсеку и от него. На рисунке, где показана схема солнечной системы, теплый воздух из солнечного коллектора поступает в верхнюю часть отсека. Он затягивается внутрь, выходит снизу и поступает обратно в коллектор.

Для обогрева дома прохладный воздух поступает в нижнюю часть отсека и нагревается по мере подъема между камнями. Самые теплые камни наверху нагревают воздух до наибольшей степени. На рисунке также показан цикл отопления на жидком топливе, в котором комнатный воздух обходит отсек с камнями. Обычно, аккумуляторный отсек не должен нагреваться отопителем, за исключением случаев, когда он располагается внутри жилого помещения.

Схема системы воздушного солнечного отопления дома в Бостоне

Схема системы солнечного теплоснабжения для дома в Бостоне:

A — режим поглощения солнечной энергии. Воздух поступает через дно солнечного коллектора и выходит через верх. Нагретый воздух подается вниз, проходя через теплоаккумулятор с камнями и нагревая его, и возвращается в коллектор;
B — режим отопления помещения. Воздух засасывается из жилого помещения и поступает в нижнюю часть теплоаккумулятора. При прохождении через камни он нагревается и поступает обратно в жилое помещение;
C — режим дублирующего отопления. Отопитель, работающий на жидком топливе, нагревает воздух, поступающий из жилого помещения через приточную камеру в нижней части теплового аккумулятора. Нагретый воздух поступает в жилое помещение через верхнюю камеру теплоаккумулятора;
D — бак для приготовления горячей воды находится внутри теплоаккумулирующей среды, которая играет роль или нагревателя, или подогревателя в зависимости от уровня температуры теплоаккумулятора

Одна из важных причин того, что теплый воздух подается из солнечного коллектора в верхнюю часть отсека, заключается в стремлении обеспечить температурную стратификацию. Это дает возможность нагревать комнатный воздух до наивысшей возможной температуры при помощи самых теплых камней, находящихся в верхней части отсека. Если теплый воздух будет поступать через низ отсека, даже без перемещения внутри него, то тепло из нижней части распределится равномерно по всему отсеку, что вызовет в нем общее понижение температуры.

Подача комнатного воздуха в то же место, что и теплого воздуха из коллектора, будет способствовать этому выравниванию тепла по отсеку, а не нагреву воздуха в целях отопления здания. Форма отсека теплового аккумулятора имеет особое значение при использовании камней в качестве теплоаккумулирующей среды.

Вообще, чем больше расстояние, которое воздуху требуется пройти через камни, тем больше должен быть размер камней для уменьшения перепада давления и снижения необходимой мощности вентилятора. Например, если отсек представляет собой высокий цилиндр, то требуются камни большего размера. Если высота цилиндра более 2,5 м, то размер камней должен быть по крайней мере 50 мм; для более высоких цилиндров размер камней должен быть еще больше. Для приземистых, горизонтальных отсеков, которые обычно устанавливаются в подвалах, может подойти гравий диаметром 25–50 мм.

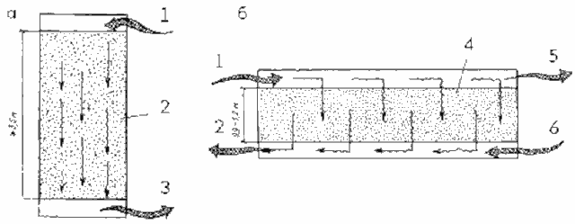
Форма отсека теплоаккумулятора

Форма отсека теплоаккумулятора:

а — вертикальный отсек; 1 — теплый воздух из солнечного коллектора; 2 — размер камней в поперечнике 50–100 мм; 3 — холодный воздух к коллектору;
б — горизонтальный отсек; 1 — теплый воздух из солнечного коллектора; 2 — холодный воздух к коллектору; 4 — гравий в поперечнике 25–50 мм; 5 — теплый воздух к дому; 6 холодный воздух из дома

Предлагаемые выше размеры в большей степени зависят от скорости проходящего через камни воздуха. Чем меньше скорость воздуха, тем мельче должны быть камни и тем толще их слой. По сути дела, увеличение перепада давления проходящего через камни воздушного потока прямо пропорционально увеличению скорости воздуха. Разумеется, чем меньше камни в поперечнике, тем больше суммарная площадь поверхности камней, которая получает тепло от воздуха. Вообще, камни или булыжники должны быть достаточно большими для поддержания низкого перепада давления при достаточно хорошем теплообмене.

В теплоаккумуляторах систем воздушного солнечного отопления можно также использовать небольшие контейнеры для воды, которые можно разместить на стеллажах, полках или каким-либо другим способом, чтобы дать воздуху возможность беспрепятственно обтекать их. Такими контейнерами могут являться пластмассовые, стеклянные, алюминиевые емкости, бутыли, банки. Проблема укладки или размещения контейнеров решается разными путями, но, пожалуй, наиболее успешным является установка их на поддоны с последующим продуванием воздуха по горизонтали между поддонами.

Теплоаккумулятор из небольших контейнеров

Отсек теплоаккумулятора для систем воздушного солнечного отопления, в которых применяются небольшие контейнеры с водой:

1 — поступление воздушного потока; 2 — контейнеры с водой; 3 — полки; 4 — выход воздушного потока; 5 — отсек теплоаккумулятора

Можно разместить небольшие контейнеры между балками перекрытий (пустоты здесь выступают в качестве воздушных коробов) или использовать вертикальные пустоты теплоаккумулятора, служащие перегородками между помещениями или элементами наружных стен. И опять, при размещении теплоаккумулятора внутри отапливаемого помещения все потери тепла из него поступают в здание. На следующем рисунке показан разрез дома, спроектированного фирмой «Тотал энвайронментал экшн» (Миннеаполис, Массачусетс). В этом проекте воздух, циркулируя в замкнутом контуре, проходит вверх через вертикальный, обращенный на юг солнечный коллектор, а затем опускается вниз через вертикальный объем, заполненный небольшими контейнерами с водой.

Вертикальные воздушные солнечные коллекторы и водяной теплоаккумулятор

Вертикальные воздушные солнечные коллекторы и водяной теплоаккумулятор контейнерного типа в Джиллис-хаус:

1 — отсек; 2 — солнечный коллектор

Стену такой конструкции нелегко приспособить для камней, и в этом заключается одно из главных преимуществ контейнеров с водой. Другое преимущество в том, что для воды требуется меньший объем пространства, для аккумуляции того же количества тепла, что и камни. Утечка воды вряд ли вызовет проблемы, поскольку в одном месте протечки потеря воды составит не более нескольких литров.

Солнечный дом для Миннеаполиса

Проект солнечного дома для Миннеаполиса:

1 — комната отдыха; 2 — общая комната; 3 — спальня; 4 — тепловой аккумулятор; 5 — солнечный коллектор для приготовления горячей воды; 6 — солнечный коллектор; 7 — столовая; 8 — гараж

По контракту с АИА Рисерч корп. фирма Тотал энвайронментал экшн использовала саму конструкцию дома в Миннеаполисе для аккумулирования тепла.

Комментарии

Последние материалы

  • Штукатурные работы: ошибки и дефекты
    5 hours 7 minutes ago
  • Ошибки при кладке дымовых труб
    5 hours 14 minutes ago
  • Ошибки при кладке фундаментных стен
    6 days 10 hours ago
  • Ошибки при бетонировании
    1 week 2 days ago
  • Характеристики солнечного коллектора
    2 weeks ago

Последние комментарии

  • (Тема не указана)
    6 months 1 week ago
  • Строительство на лугу вижу и…
    1 year 11 months ago
  • На фото показано возведение…
    1 year 11 months ago
  • Мне он тоже нравится…
    3 years 1 month ago
  • От этого дома буквально…
    3 years 1 month ago
RSS feed

Secondary menu

  • ЧаВо

© 2003–2025 Олег Меньшенин mensh@yandex.ru