Универсальные топливники печей пригодны для сжигания топлива различных видов. Тыльная сторона таких топливников выполняется с большим перевалом (проёмом).

Универсальные топливники:
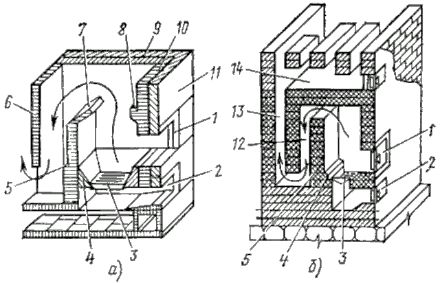
1, 2 — дверки; 3 — решётка; 4 — скат; 5 — перевал; 6 — тыльная стенка; 7 — полусвод; 8 — свод; 9, 10 — плиты; 11 — изразцы; 12, 13 — каналы; 14 — перекрытие
Конструктивные особенности
В шахтном топливнике печи с перевалом и полусводом, изображённом на рис. а, отсутствует перекрытие, которое заменено наклонной отражательной плитой (полусводом).
Плита расположена в топливнике несколько ниже обычного свода, что усиливает её отражательную способность и создаёт условия для сжигания топлива различных видов. Герметичность топливника повышается его облицовкой, в которую вмонтированы загрузочная и поддувальная дверки.
Скаты топливника образуют углубление, в котором устанавливают колосниковую решётку. Размеры колосниковой решётки и её живое сечение таковы, что допускают сжигание дров, торфа, углей и местного топлива различных видов: хвороста, соломы, отходов древесины.
Подобная универсальность топливника печи сказывается, конечно, на его среднем КПД, который колеблется от 75 (при сжигании углей) до 45% (при работе на местном топливе).
Топливник с отражательной плитой технологичен в изготовлении, поскольку кирпичная кладка заменяется сборкой элементов из огнеупорных и керамических плит, облицованных изразцами.
Топочный процесс интенсифицируется благодаря расположенному над топочной дверкой обратному своду, который способствует образованию вихрей газового потока. Отразившись от обратного свода, топочные газы огибают полусвод и опускаются между перевалом и тыльной стенкой топливника.
Кирпичные универсальные топливники печей с увеличенным топочным пространством позволяют наряду с топливом, имеющим небольшой выход летучих веществ, сжигать дрова и торф.
Выделившиеся в топливнике газы огибают перевал, затем опускаются по первому топочному каналу, поступают в подъёмный канал и уходят в конвективную систему, расположенную над перекрытием. Угли, например, антрацит, горят в топливнике с перевалом значительно хуже, чем в топливнике с шахтой.
Достоинство
Достоинство универсальных топливников печей — сильный прогрев их стенок, что обусловлено расположением дымооборотов, находящихся непосредственно у перевала.
Повышенная теплоотдача топочной и подтопочной частей печей обеспечивает хороший прогрев нижней зоны помещений. Благодаря этому создаются комфортные условия в жилых помещениях отапливаемого здания.
Комментарии