Перейти к основному содержанию
Mensh.ru

Main navigation

  • Конструкции
  • Системы
  • Энерго
  • Стили
  • Проекты
  • Участок
  • Разное
  • Доки
User account menu
  • Войти

Строка навигации

  1. Главная

Солнечные сушилки

Автор: mensh, 27 июля, 2003
Гелиоустановки
  • Хозяйство

Применение солнечных сушилок повышает эффективность и существенно сокращает время сушки. Во многих регионах их использование экономически оправданно.

Солнечная сушилка для овощей и фруктов

Содержание

  • Методы сушки
  • Преимущества солнечных сушилок
  • Типы солнечных сушилок
    • Сушилки с прямым обогревом
    • Сушилки с косвенным обогревом
  • Конструкции камерных солнечных сушилок
    • Простейшая сушилка
    • Сушилка с механическим побуждением
    • Сушилка с естественным побуждением
    • Простая плёночная сушилка
    • Сушилка с модульным солнечным коллектором
    • Сушилка для древесины

Методы сушки

Выбор метода сушки определяется масштабом производства, климатическими особенностями местности, видом высушиваемого материала и стоимостью дополнительной энергии.

Подвод теплоты к материалу от сушильного агента может осуществляться конвективным путём или путём излучения, соответственно различают конвективные и радиационные сушилки.

В первых продукт контактирует с воздухом, нагретым солнечной энергией, во вторых продукт непосредственно облучается Солнцем, температура в сушилках этого типа достигает 60–75°С.

Могут также применяться комбинированные сушилки, в которых участвуют оба вида теплообмена, но преобладает конвекция, а установка состоит из воздухонагревателя и сушильной камеры с прозрачными стенками.

Естественная сушка сельскохозяйственных продуктов используется повсеместно и с давних пор, при этом продукты расстилают на земле, подвешивают под навесом или размещают на поддонах. При сушке на воздухе незащищенных сельхозпродуктов имеют место большие потери вследствие неполного высушивания, загрязнения, заплесневения, склевывания птицами, повреждения насекомыми, действия осадков.

Преимущества солнечных сушилок

Применение солнечных установок типа «горячий ящик» повышает эффективность сушки и уменьшает потери продукта. Существенно сокращается время сушки и улучшается качество продукта, в том числе сохранность витаминов. Однако коэффициент использования гелиосушилок для сельского хозяйства, как правило, низкий. В некоторых случаях за год они могут использоваться всего несколько недель. И это, естественно, не способствует достижению высоких экономических показателей солнечных сушилок.

В настоящее время экономически целесообразно применять гелиосушилки для сушки сена. Ситуация достаточно благоприятная при сушке древесины, рыбы, при применении таких установок в прачечных.

Типы солнечных сушилок

Различают установки с прямым и косвенным действием солнечной энергии.

Сушилки с прямым обогревом

В установках этого типа солнечная энергия поглощается непосредственно самим продуктом и окрашенными в чёрный цвет внутренними стенками камеры, в которой находится высушиваемый материал.

Солнечная сушилка с непосредственным облучением материала

Солнечная сушилка с непосредственным облучением влажного материала:

1 — светопрозрачная изоляция; 2 — платформа для материала; 3 — стенка; 4 — теплоизоляция; 5, 7 — отверстия; 6 — фундамент

Гелиосушилка этого типа имеет верхнюю светопрозрачную изоляцию, перфорированную платформу для размещения высушиваемого материала, боковые стенки (южная стенка — из светопрозрачного материала), теплоизоляцию с отверстиями для поступления воздуха и основание. Для удаления влажного воздуха из гелиосушилки в верхней части северной стенки предусмотрены отверстия.

Сушилки с косвенным обогревом

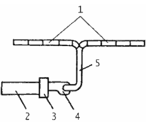
Сушильные установки этого типа содержат солнечный воздухонагреватель и камерную или туннельную сушилку. В камерной солнечной сушилке воздух движется через слой высушиваемого материала, размещенного на сетчатых поддонах, снизу вверх, в то время как в туннельной сушилке материал движется на конвейерной ленте в одну сторону, а воздух движется противотоком в обратном направлении.

Камерная солнечная сушилка с пленочным воздухонагревателем

Камерная солнечная сушилка с пленочным воздухонагревателем:

1 — пленочный воздухонагреватель; 2 — воздуховод; 3 — сушильная камера; 4 — решетка; 5 — козырек; СВ и ВВ — свежий и влажный воздух

Конструкции камерных солнечных сушилок

Рассмотрим примеры конструктивного выполнения камерных гелиосушилок.

Простейшая сушилка

Простая сушилка с использованием полимерной плёнки работает на естественной тяге. Воздух нагревается в плёночном солнечном воздухонагревателе и по воздуховоду поступает в нижнюю часть сушильной камеры, где на перфорированных поддонах (сетках, решетках) размещается влажный материал. Нагретый воздух движется в сушильной камере снизу вверх через слой материала и удаляется из камеры через зазор между верхней кромкой и козырьком.

Стенки сушильной камеры могут быть теплоизолированы или выполнены из светопрозрачного материала.

Пленочный солнечный воздухонагреватель

Плёночный воздухонагреватель из прозрачной (1) и черной (2) полимерной пленки

Плёночный воздухонагреватель изготовляется из полимерной пленки, натянутой на проволочный каркас. Верхняя поверхность нагревателя изготовляется из прозрачной плёнки, а нижняя — из чёрной. Его можно также выполнить в виде двух цилиндрических поверхностей — наружной прозрачной и внутренней чёрной.

Сушилка с механическим побуждением

Солнечная камерная сушилка с принудительным дутьем включает:

  • воздухонагреватель;
  • сушильную камеру;
  • вентилятор.

Камерная солнечная сушилка с вентилятором и гофрированным абсорбером воздухонагревателя

Камерная солнечная сушилка с вентилятором и гофрированным абсорбером воздухонагревателя:

1 — воздухонагреватель; 2 — сушильная камера; 3 — вентилятор; 4 — теплоизолированный корпус; 5 — светопрозрачная изоляция; 6 — абсорбер; 7 — воздуховод; 8 — опора; 9 — козырёк

В теплоизолированном корпусе воздухонагревателя со светопрозрачной изоляцией находится зачернённая лучепоглощающая поверхность из гофрированного металла.

Горячий воздух по теплоизолированному воздуховоду поступает в сушильную камеру с перфорированными поддонами для высушиваемого материал. Камера установлена на опорах и сверху накрыта козырьком.

Сушилка с естественным побуждением

Конструкция  этой гелиосушилки с естественным дутьём отличается типом воздухонагревателя.

Солнечная сушилка с пористым абсорбером воздухонагревателя

Солнечная сушилка с пористым абсорбером воздухонагревателя:

1 — корпус воздухонагревателя; 2 — остекление; 3 — пористая лучепоглощающая насадка; 4 — сушильная камера; 5 — решётка для материала; 6 — перегородка; 7 — козырек

В корпусе из оцинкованного железа с теплоизоляцией расположены две секции воздушного коллектора матричного типа. В корпусе предусмотрены отверстие для поступления наружного воздуха и светопрозрачная изоляция.

Солнечная энергия поглощается в матрице, представляющей собой 2 ряда покрашенных чёрной краской металлических сеток со стальной стружкой между ними. Её можно также сделать из нескольких слоев чёрной сетки.

Нагретый воздух поступает в сушильную камеру, которая имеет суживающуюся кверху форму и ряд сеток, На сетки укладывается влажный материал. Для подачи воздуха под каждый слой материала в камере предусмотрены вертикальные перегородки, образующие необходимые щели для воздуха. Сверху камера накрыта козырьком.

Описанная гелиосушилка имеет высокую эффективность. КПД коллектора достигает 75% благодаря большому расходу воздуха [0,5 м³/с или 0,13 кг/(с*м²)], а потери давления — до 250 Па. Срок окупаемости — до 5 лет.

Простая плёночная сушилка

Простая и дешёвая гелиосушилка может быть изготовлена из прозрачной и чёрной полимерной пленки, стабилизированной к действию ультрафиолетового излучения.

Пленочная солнечная сушилка

Плёночная солнечная сушилка:

1 — прозрачная полимерная плёнка; 2 — чёрная плёнка на настиле для размещения продукта; 3 — теплоизоляция; 4 — боковые стенки

На деревянный каркас натянута полиэтиленовая плёнка толщиной 0,1 мм, а днище представляет собой чёрную полиэтиленовую плёнку (0,1 мм), уложенную на слой шелухи толщиной 75 мм, служащей тепловой изоляцией. Боковые стенки внизу присыпаны землей, длина и ширина коллектора соответственно равны 30 и 4,6 м.

Нагретый воздух поступает в цилиндрическую камеру диаметром 1,5 и высотой 1,8 м, в которой размещается 1,75 т сельскохозяйственного продукта (зерна) в несколько слоёв толщиной по 150 мм.

Сушилка с модульным солнечным коллектором

Еще одна конструкция высокоэффективной солнечной сушилки для различных сельхозпродуктов.

Солнечная сушилка с модульным воздухонагревателем

Солнечная сушилка с модульным воздухонагревателем:

1 — модуль воздухонагревателя; 2 — сушильный желоб; 3 — вентилятор; 4 — воздухораспределитель; 5 — воздуховод

Воздушный коллектор изготовляется из отдельных модулей площадью по 5 м², которые в собранном виде образуют панели, устанавливаемые в наклонном положении на крыше сарая.

Внутри сарая размещаются:

  • горизонтальный желоб или вертикальный бункер для влажного материала;
  • вентилятор;
  • воздухораспределительная камера.

Панели воздушного солнечного коллектора присоединяются к вентилятору с помощью воздуховода. Лучепоглощающая поверхность воздушного коллектора — пористая матрица, улавливающая солнечное излучение и имеющая чрезвычайно развитую поверхность контакта для нагрева воздуха. Боковые и задняя стенки корпуса из оцинкованного железа имеют тепловую изоляцию. Светопрозрачная изоляция — из специального прочного полимерного материала, устойчивого к ультрафиолетовому излучению, с высокой пропускающей способностью для солнечного излучения.

Обычно модули шириной 4,2 и длиной 2,5 м соединяются последовательно. Две панели длиной по 14,5 м присоединены к одному вентилятору, прогоняющему воздух через этот солнечный коллектор. Так, для гелиосушилки площадью поверхности солнечного коллектора 120 м² достаточно одного вентилятора мощностью 3,5 кВт, производительность сушилки 800 кг сырого или 400 кг высушенного продукта в день при среднедневной плотности потока солнечного излучения 19 мДж/м² в день. Зерно помещается в горизонтальном желобе, продуваемом нагретым воздухом.

Аналогичные установки могут быть использованы для сушки кукурузы и других зерновых, листьев табака.

Для сушки зерна в вентилируемом горизонтальном желобе или вертикальном бункере может использоваться нагретый воздух, температура которого всего на 2–3°С (при высоте слоя до 4 м) или на 5–15°С (в слое высотой до 1,5 м) выше температуры окружающей среды. Ограничение высоты слоя обусловлено опасностью конденсации водяных паров в верхней части слоя, особенно в пасмурные дни с высокой влажностью воздуха.

Для сушки зелёных кормов и сена можно использовать следующие методы:

  • сушка горячим воздухом (300°С) или теплым (40–80°С);
  • проветривание слабо подогретым воздухом (0–10°С);
  • вентилирование неподогретым наружным воздухом и сушка сена на земле в естественных условиях.

Расход энергии при сушке сена с использованием солнечной энергии меньше, чем при работе сушилки на жидком топливе, и приблизительно равен расходу энергии при сушке неподогретым воздухом. В системе применяется воздушный коллектор солнечной энергии, в котором температура воздуха повышается на 20°С в яркий солнечный день и на 1°С в пасмурный облачный день. При этом влажность сена снижается на 5% в пасмурный день.

В качестве коллектора солнечной энергии могут быть использованы обычной остеклённый солнечный коллектор или сама крыша постройки, под которой смонтировано днище солнечного коллектора и вентилятором прогоняется воздух.

Сушилка для древесины

Древесину строевого леса можно сушить в теплоизолированной камере объемом 65 м³, в которой на тележке размещается до 10 м³ материала; с помощью вентиляторов осуществляется циркуляция воздуха по замкнутому контуру; воздух нагревается в коллекторе площадью 75 м².

Комментарии

Последние материалы

  • Ошибки в штукатурных работах
    3 hours ago
  • Ошибки при кладке дымовых труб
    3 hours 23 minutes ago
  • Ошибки при кладке фундаментных стен
    3 hours ago
  • Ошибки при бетонировании
    3 hours 25 minutes ago
  • Характеристики солнечного коллектора
    2 weeks 2 days ago

Последние комментарии

  • (Тема не указана)
    6 months 1 week ago
  • Строительство на лугу вижу и…
    1 year 11 months ago
  • На фото показано возведение…
    1 year 11 months ago
  • Мне он тоже нравится…
    3 years 1 month ago
  • От этого дома буквально…
    3 years 1 month ago
RSS feed

Secondary menu

  • ЧаВо

© 2003–2025 Олег Меньшенин mensh@yandex.ru