Перейти к основному содержанию
Mensh.ru

Main navigation

  • Конструкции
  • Системы
  • Энерго
  • Стили
  • Проекты
  • Участок
  • Разное
  • Доки
User account menu
  • Войти

Строка навигации

  1. Главная

Солнечная энергосистема Тромба-Мишеля

Автор: mensh, 27 июля, 2003
Гелиоустановки
  • Солнечное отопление

Эта французская система солнечного отопления основана на принципе накопления солнечной энергии только в массе здания и напоминает систему Лефевра.

Дом с системой солнечного отопления Тромба-Мишеля

Принцип работы

Солнечная радиация поглощается вертикальной, обращенной на юг остеклённой бетонной стеной. Тёплый воздух поступает через отверстия в жилое помещение и распределяется путем естественной конвекции.

Пример

Первый дом, в котором использована эта система, был построен в Пиренеях в 1962 г.

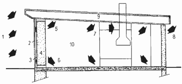
Схема системы солнечного отопления Тромба-Мишеля

Схема солнечной отопительной системы дома в Шовенси-ле-Шато (Франция):

1 — радиация; 2 — остекление (45 м²); 3 — воздушная прослойка; 4 — бетонные стены, аккумулирующие тепло; 5 — движение теплого воздуха в жилое помещение; 6 — холодный воздух; 7 — циркуляция теплого воздуха в комнате; 8 — выпуск воздуха; 9 — стальная трубчатая конструкция крыши; 10- жилое пространство (106 м²; 275 м²).

Комментарии

Последние материалы

  • Ошибки в штукатурных работах
    1 month 2 weeks ago
  • Ошибки при кладке дымовых труб
    1 month 2 weeks ago
  • Ошибки при кладке фундаментных стен
    1 month 2 weeks ago
  • Ошибки при бетонировании
    1 month 2 weeks ago
  • Характеристики солнечного коллектора
    2 months ago

Последние комментарии

  • (Тема не указана)
    7 months 4 weeks ago
  • Строительство на лугу вижу и…
    2 years 1 month ago
  • На фото показано возведение…
    2 years 1 month ago
  • Мне он тоже нравится…
    3 years 3 months ago
  • От этого дома буквально…
    3 years 3 months ago
RSS feed

Secondary menu

  • ЧаВо

© 2003–2025 Олег Меньшенин mensh@yandex.ru