Ограждения лестниц устраиваются высотой 90–110 см. В зданиях без лестничного проёма ограждение крепится к соседней лестнице. Сверху на ограждения устанавливаются поручни.

Металлическое ограждение винтовой лестницы
Ограждения сооружают, как правило, из материалов, которые ассоциируются с теплом и надёжностью.

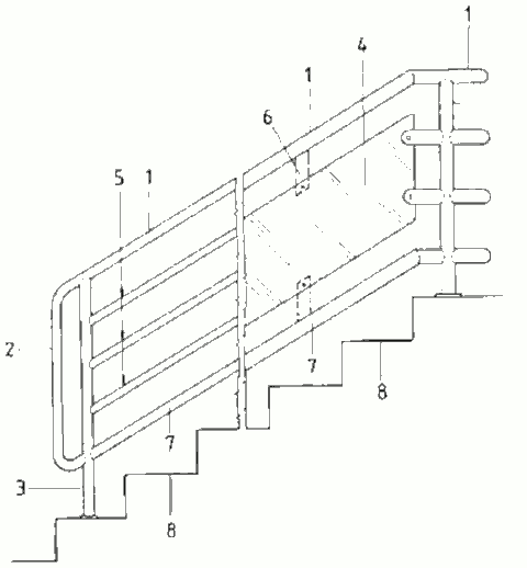
Безопасное ограждение лестницы: 1 — поручни; 2 — закруглённый край поручня; 3 — опорный столб; 4 — акрил; 5 — трубчатый барьер; 6 — крепёжные элементы; 7 — нижнее направляющее; 8 — лестница
В настоящее время весьма популярны дугообразные и криволинейные внутренние лестницы, позволяющие получить самые неожиданные пространственные решения. Необычные ограждения позволяют при этом создавать уникальное внутреннее пространство.
Комментарии