Значительные нагрузки, возникающие от собственного веса печей, расположенных в верхних этажах дома, требуют устройства специальных фундаментов под печи.

Отопительная печь на втором этаже дома
Содержание
- Фундамент печи — междуэтажное перекрытие
- Фундамент печи — кирпичный свод
- Фундамент печи — уширение кирпичной стены
- Фундамент печи — печь нижнего этажа
- Установка печи на пол
Фундамент печи — междуэтажное перекрытие
В качестве фундаментов печей верхних этажей дома используют междуэтажные перекрытия, усиленные дополнительными несущими конструкциями.
Наиболее прочными являются монолитные и сборно-монолитные железобетонные перекрытия. В некоторых зданиях над подвальными и вышележащими этажами сооружают перекрытия, допускающие установку печей непосредственно на монолитный слой. Для этого перекрытие здания усиливают дополнительными балками, уложенными на основные балки. Используя бетонные перекрытия здания, печи располагают возможно ближе к капитальным стенам.

Установка печи на сборно-монолитное железобетонное перекрытие:
В том случае, если в отапливаемом здании перекрытие деревянное, до возведения печи его усиливают балками сечением 120x250 мм, между которыми укладывают скрепляющий их деревянный брус высотой 50 мм. Между дощатым накатом, уложенным на черепные бруски, и брусом помещают теплоизоляцию, выполненную из минеральной ваты или шлака. Зазор, образуемый стеной и балкой, заполняют теплоизоляцией из минеральной ваты. Для того чтобы нагрузка от печи равномерно распределялась на обе балки и для повышения пожаробезопасности, на них укладывают железобетонную плиту.

Установка печи на сборные железобетонные плиты перекрытия:
Широко распространены надземные фундаменты печей из сборных железобетонных плит, усиленных балками, уложенными на капитальные стены. По плитам и балкам укладывают несгораемый пол, выполненный из цементной стяжки.
Фундамент печи — кирпичный свод
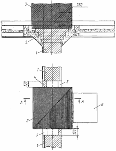
При капитальном ремонте зданий нецелесообразно усиливать перекрытия дополнительными балками, поэтому в качестве фундаментов под печи верхних этажей используют кирпичные своды, передающие распор на металлические консоли, заделанные в отверстия стены бетоном и скрепленные стяжным болтом. Во всех случаях, когда печь устанавливают на свод, её следует располагать от кирпичной стены на расстоянии не более 250 мм.

Установка печи на кирпичный свод:
Фундамент печи — уширение кирпичной стены
При реконструкции здания (надстройке второго этажа) фундаменты устраивают путем напуска (уширения) кладки несущих кирпичных стен. Величина уширения каждой из сторон не должна превышать 250 мм. Чтобы увеличить прочность напуска кладки, её армируют сеткой, в результате чего создается надёжная армокаменная конструкция. При установке печи в проёме надстраиваемой кирпичной стены каждый ряд кладки сдвигают в сторону от плоскости стены на 30–40 мм, начиная с уровня, расположенного на 150–200 мм ниже потолка первого этажа здания. Уширения выкладывают на цементном растворе. К установке печи приступают лишь после того, как кладка уширения наберёт необходимую прочность. Если уширение под печь не размещается в пределах перекрытия, то её фундамент можно поднять над уровнем пола второго этажа на 70 мм.

Установка печи на уширение кирпичной стены:
Фундамент печи — печь нижнего этажа
Фундаментами печей второго этажа могут служить печи, размещённые непосредственно под ними. Такой фундамент достаточно надёжен, если толщина стенок печи первого этажа не менее 120 мм.

Установка печи второго этажа на печь первого:
1 —воротник; 2 — плита; 3 — песок
Установка печи на печь нижнего этажа позволяет на стенках нижней печи возвести воротник, представляющий собой глухую камеру из кирпича. При ширине печи более 650 мм воротник перекрывают железобетонной плитой. Для снижения поступления теплоты в камеру над перекрытием печи первого этажа укладывают слой песка толщиной 100–150 мм. При ширине печи менее 650 мм воротник перекрывают кирпичом, укладываемым внапуск.
Установка печи на пол
Печи массой до 750 кг устанавливают непосредственно на перекрытие второго этажа. Перед установкой деревянный пол антисептируют, покрывают листовым асбестом и обивают кровельной сталью. Расстояние от дна зольника каркасной печи до пола должно быть не менее 140 мм.

Установка каркасной печи массой до 750 кг на деревянный пол:
Комментарии